2. 山西能源学院, 山西晋中 030604
合理的灌溉和科学的施肥方式可以改善土壤理化性质,促进作物生长,提高水肥利用效率[1-2]。分根区交替灌溉技术(APRI)在作物根区两侧形成干湿交替水分条件,干燥区域根系受到水分胁迫产生根源信号,进而调节气孔开度以减少植株过度的蒸腾失水[3]。此外,APRI条件下作物根系存在吸水补偿效应,根系传导能力增强,提高了根区土壤水分有效性[4]。APRI可以显著减少灌溉水量,提高水分利用效率,具有较大的节水稳产效果,受到广泛关注[5]。大量试验研究结果表明:APRI还可以控制植物营养生长、保持作物产量、改善果实品质[6]。
滴灌施肥技术根据作物生长需求适时供应水肥,可促进养分吸收,提高水肥利用效率[7]。已有研究表明,滴灌施肥技术可以减少肥料使用量和养分损失[8]。在相同灌水量和施肥量条件下,与传统沟灌施肥方式相比,滴灌施肥番茄产量增加46.9%,同时显著提高果实品质[9]。在作物整个生育期内合理的分配肥料主要通过改变施肥频率来实现[10]。滴灌施肥频率直接影响作物生育期内施肥次数与单次施肥量,影响根系周围土壤水分养分分布变化,进而影响作物生长及产量形成[11]。适当提高施肥频率,能够使养分更多地在表层土壤中聚集,从而为根系营造一个良好的养分条件,显著提高肥料利用率[12]。
近年来,一些学者将APRI和滴灌施肥技术相结合,研究其对作物生长、产量和果实品质以及水分利用效率等方面的影响,并取得了一定成果[13-15]。分根区交替滴灌施肥(ADF)综合了APRI和滴灌施肥的优点,具有提高水肥利用效率、提高果实质量与品质的潜力。胡笑涛等[16]研究表明,垂向分根区交替滴灌施肥有利于控制植株长势、增加径杆直径,在番茄产量无显著下降的情况下节水46.5%。刘永贤等[17]研究了交替灌溉条件下不同施肥量及滴灌方式对糯玉米生长及产量的影响,研究发现交替滴灌水肥一体化施肥模式玉米增产效果最好。但在分根区交替滴灌条件下,有关施肥频率对土壤水分养分运移及作物生长方面的研究报道较少。ADF条件下不同滴灌施肥频率会引起不同根区土壤中水分养分含量不同,导致整个根系处在非均匀且变化的土壤环境中,这必然对作物的水分养分吸收利用产生很大影响。
因此,本研究通过日光温室试验,探明ADF下不同滴灌施肥频率对土壤水分养分(氮素)的时空分布规律以及番茄对水分养分非均匀性分布的响应,为提高番茄产量及水肥利用效率,进一步发展和丰富局部根区水肥一体化灌溉理论和技术提供理论依据。
1 材料与方法 1.1 试验区概况试验于2020年5月至2021年10月在山西省农业科学院旱地农业研究中心河村基地(38°04′N,112°89′E)的日光温室内进行。试验温室南北长50 m,东西宽7.5 m,最大高度3.5 m,总耕地面积268.8 m2,作物呈东西向种植。该地区属温带大陆性季风气候,年平均气温6.0 ℃,多年平均降水量459 mm,年均蒸发量达1 547 mm,无霜期144 d左右。试验温室土壤为砂壤土,表层土壤(0 ~ 20 cm)基本理化性质为:pH 8.4,容重1.43 g/cm3,田间持水率25.0%,有机质1.41 g/kg,全氮0.91 g/kg,有效磷29.9 mg/kg,速效钾173 mg/kg。
1.2 试验设计及处理试验于ADF条件下设置3个滴灌施肥频率处理:F3(3 d)、F6(6 d)、F12(12 d),并设1个常规滴灌施肥处理作为对照(CK,频率为6 d),每个处理重复3次,共计12个小区。试验采用完全随机区组设计,每个小区面积6.72 m2(2.8 m × 2.4 m),由4行番茄组成,行距和株距分别为60 cm和30 cm。为防止不同处理间水分和养分相互影响,相邻小区之间埋设60 cm深的地下防渗膜。ADF处理每行作物布置2条滴灌带,分别放置于根基两侧10 cm处,每次灌水时仅打开一侧滴灌带,另一侧关闭,两侧滴灌带轮流交替灌水。CK处理每行作物布置1条滴灌带,放置于紧靠番茄茎基位置。试验采用自压重力式滴灌系统,滴头间距20 cm,滴头流量0.69 ~ 0.98 L/h。每个处理为一个单独控制的滴灌小区。番茄生育期内其他除草、打叶、病虫害防治等管理措施完全一致。
在2020年5月11日和2021年5月3日移栽长势均匀的番茄苗(鸿福星)。为确保幼苗成活率,各处理在定植后均进行1次灌水(10 mm),定植约10 d后(2020年5月22日和2021年5月13日)开始进行试验处理,在2020年9月7日和2021年8月29日滴灌施肥结束。灌溉水量依据灌水间隔内20 cm口径蒸发皿累计蒸发量(Epan,mm)确定,蒸发皿放置于温室中间作物冠层上方20 cm处,每天早上08:00观测日蒸发量。CK处理的灌水量W(mm)=蒸发皿系数×累计Epan,其中蒸发皿系数取1.0[18];ADF处理灌水量根据相关文献设为60%W[19]。2020年CK处理共计灌溉18次,总灌水量为550.2 mm,F3、F6、F12处理分别灌溉36、18、9次,总灌水量均为330.1 mm;2021年CK处理共计灌溉18次,总灌水量为447.1 mm,F3、F6、F12处理分别灌溉36、18、9次,总灌水量均为268.3 mm。灌溉在上午08:00—12:00之间进行,不同处理每次的灌水量根据灌溉次数平均分配。
所有处理的施肥均是按照当地推荐的施肥量(N 180 kg/hm2,P2O5 90 kg/hm2,K2O 112.5 kg/hm2),肥料种类为尿素(N 46%)、过磷酸钙(P2O5 12%)、硫酸钾(K2O 50%)。氮肥全部作为追肥通过滴灌系统施入,并根据番茄整个生育期需肥规律进行分配;在定植约10 d后至第一次果实膨大期之前施入25%,其余75% 的氮肥在后续阶段施入,不同处理每次的施氮量根据施肥次数平均分配。具体氮肥施用过程如图 1所示。各处理磷肥在翻耕前作为基肥均匀撒施;钾肥在移栽期、出苗期、第一次果实膨大期、第二次果实膨大期、第三次果实膨大期按1:1:2:2:2比例施入。
|
图 1 生育期内氮肥施用过程 Fig. 1 Nitrogen fertilizer application process during the growth period |
在番茄生育期内,各处理用土钻法在距番茄根部两侧0、5、10、20、30 cm处分别采取0 ~ 20、20 ~ 40、40 ~ 60 cm深的土壤样品。一部分土样在105 ℃下烘干至恒重,测定土壤含水量;另一部分土样放入-20 ℃冰箱中保存用于测定土壤无机氮含量。用50 mL的2 mol/L KCl溶液浸提5 g土壤样品,再用紫外可见分光光度计(752N)测定滤液中NH4+-N和NO3--N含量,无机氮含量为NH4+-N和NO3--N含量之和。土壤无机氮残留量(kg/hm2)=土层深度(cm)×土壤容重(g/cm3)×土壤无机氮含量(mg/kg)/10。
在各个生育期,每个小区内随机选取能够代表小区整体长势的3株番茄,放入保鲜袋中带回实验室洗净,并用滤纸吸干,再分别将植株的根、茎、叶和果实分开装入档案袋中,放入105 ℃烘箱中杀青30 min,然后75 ℃烘干至恒重,冷却后测定干物质质量。将烘干的样品充分研磨后过1 mm筛,经浓H2SO4–H2O2消煮,利用凯氏定氮法测定植株全氮含量。果实产量从番茄采摘开始,记录各小区未受取样影响的中间一行实际产量。
1.4 数据处理与分析采用Excel 2019软件对数据进行处理分析,SPSS 27.0统计软件进行方差分析(ANOVA)和Duncan’s检验(P < 0.05),并使用Origin 2019软件作图。
2 结果 2.1 不同滴灌施肥频率对根区土壤水分的影响在番茄两个生长季内各处理在不同土层土壤含水量变化趋势基本一致(图 2)。与F6和F12处理相比,F3处理在0 ~ 20 cm土层两年平均土壤含水量分别增加6.5% 和10.9%;在20 ~ 40 cm土层分别增加3.0%和4.8%;在40 ~ 60 cm土层,F3处理在整个生育期内土壤含水量最低,两年平均土壤含水量分别降低4.6%和7.3%。在整个生育期内,由于ADF处理的灌水量相比于CK减少40%,导致不同土层土壤含水量均低于CK。F6处理在0 ~ 20、20 ~ 40和40 ~ 60 cm土层的两年平均土壤含水量分别比CK处理低14.4%、11.5% 和12.6%。
|
图 2 各处理生育期内不同土层土壤水分分布规律 Fig. 2 Soil water distribution in different soil layers during the growth period of each treatment |
番茄生育期内各处理不同土层土壤无机氮含量呈先增加后降低的变化规律(图 3)。在0 ~ 20和20 ~ 40 cm土层高频处理土壤无机氮含量大于低频处理,CK处理土壤无机氮含量最低;而在40 ~ 60 cm土层相反。ADF下根区土壤(0 ~ 40 cm)无机氮含量一般随滴灌施肥频率的增加而增加,而深层土壤(40 ~ 60 cm)无机氮含量减少。与F6和F12处理相比,F3处理在0 ~ 20 cm土层两年平均土壤无机氮含量分别增加15.2% 和27.4%;在20 ~ 40 cm土层分别增加20.4% 和29.2%;在40 ~ 60 cm土层,F3处理在整个生育期内无机氮含量普遍最低,相比于F6和F12处理分别减少20.0% 和37.8%。在两个生长季内,ADF处理较CK处理0 ~ 40 cm土壤无机氮含量有大幅度提升,而在40 ~ 60 cm土层明显降低(图 3)。相同滴灌施肥频率下,F6处理在0 ~ 20和20 ~ 40 cm土层两年平均无机氮含量分别比CK高21.9% 和24.2%,而在40 ~ 60 cm土层低31.9%。
|
图 3 各处理生育期内土壤无机氮含量动态变化 Fig. 3 Dynamic changes of soil inorganic nitrogen content during the growth period of each treatment |
在番茄收获后,ADF条件下高频滴灌施肥处理(F3)土壤无机氮更多在表层土壤聚集,而深层土壤残留量较少(图 4)。在番茄根系密集的0 ~ 40 cm土层,F3处理两年平均无机氮累积量最大,相比于F6和F12处理在0 ~ 20 cm土层增加20.4% 和30.0%,在20 ~ 40 cm土层增加8.9% 和17.7%。在40 ~ 60 cm土层,F3和F6相比于F12处理,两年平均无机氮累积量分别显著降低37.8% 和23.0%。相同施肥频率下,F6处理在0 ~ 20和20 ~ 40 cm土层两年平均无机氮累积量分别比CK显著增加37.7% 和45.3%,而在40 ~ 60 cm土层显著减少39.0%。
|
图柱上方小写字母不同表示同一土层不同处理间差异达P < 0.05显著水平,下同 图 4 各处理番茄收获后土壤无机氮残留量 Fig. 4 Inorganic nitrogen residues in soils of various treatments after tomato harvest |
生物量和吸氮量是反映植物养分吸收状况的重要指标。番茄生物量和吸氮量随滴灌施肥频率的增加而增加(表 1),F3与F6处理之间无显著性差异,但它们均显著高于F12处理,其中F6处理比F12处理两年平均生物量和吸氮量显著增加16.9% 和15.2%。相同滴灌施肥频率下,F6与CK处理的番茄生物量和吸氮量均无显著性差异。
|
|
表 1 各处理番茄地上部分生物量和吸氮量 Table 1 Tomato aerial biomass and nitrogen uptake in each treatment |
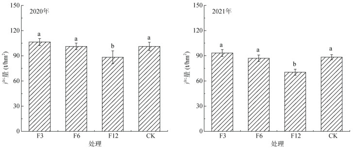
在ADF处理下,F3与F6处理番茄产量无显著性差异,但它们均显著高于F12处理(图 5),其中F6比F12处理两年平均产量高22.6%。相同施肥量和滴灌施肥频率下,F6处理灌水量减少40% 的同时能够保持与CK相当产量。
|
图 5 不同滴灌施肥频率对番茄产量的影响 Fig. 5 Effect of different drip irrigation fertilization frequency on tomato yield |
不同滴灌施肥频率会引起灌溉施肥次数和单次施肥量的变化,从而影响土壤中水分养分分布及运移规律。本研究中,与F6和F12处理相比,F3处理在0 ~ 40 cm土层两年平均土壤含水量分别增加4.8% 和7.9%,土壤无机氮含量分别增加17.8% 和28.3%;在40 ~ 60 cm土层两年平均土壤含水量却分别降低6.0% 和28.9%(图 2和图 3)。这是因为在灌水量一定情况下,高频灌溉使上层土壤频繁接受外部供水,使根区土壤水分较充足,促进根系生长及其对水分的吸收,减少了水分向深层土壤运移[20]。低频灌溉灌水间隔长、单次灌水量大,增加了水分在垂直方向的运移,大量水分渗入到深层土壤而不能被根系吸收[8]。土壤无机氮主要以溶质的形式存在于土壤溶液之中,其在土壤中的运移规律受灌水量影响较大,灌水量越大,无机氮运移能力越强[21]。多次少量的高频施肥,频繁补充浅层土壤养分,降低了淋溶损失的风险,引起硝态氮在根区附近聚集,促进作物吸收[22]。然而滴灌施肥频率过低,单次灌水量较大,容易引起养分无效淋失,水肥利用效率低[23-24]。低频处理使根区可利用的水肥不能及时得到补充,不能满足持续稳定的水肥供给[22]。提高滴灌施肥频率可使得根区土壤水分维持在相对稳定的水平,从而避免过多的农田水分损失,提高水分利用效率的同时也使得更多氮素在根区土壤累积。
ADF处理相比于常规滴灌能够节约灌溉水量,减少氮素向深层土壤运移,从而提高番茄根区土壤(0 ~ 40 cm)氮素含量。本研究中,相同滴灌施肥频率和施氮量下,番茄收获后,F6比CK处理两年平均无机氮累积量在0 ~ 20和20 ~ 40 cm土层分别增加37.7% 和45.3%,然而,在40 ~ 60 cm土层减少39.0%(图 4)。这一方面,因为ADF处理相比CK灌水量减少40%,降低了土壤中无机氮随水向深层运移;另一方面,APRI使根区土壤干湿交替变化,在湿润区与干燥区之间存在水势梯度,使水分会向干燥区域扩散,减少了水氮向深层土壤的垂向运移[19]。此外,APRI还有效降低了土壤氨挥发,使氮素在浅层土壤积累[25]。
3.2 滴灌施肥频率对番茄生长及产量的影响水肥条件是影响作物生长及产量的关键因素。整个生育期内各层土壤无机氮含量呈现先增加后降低的变化规律,这是因为番茄生长前期需肥量较少,根系吸收能力较弱,导致土壤无机氮含量逐渐增加。提高滴灌施肥频率会促进番茄生长和氮素吸收,本研究中F6处理相比于F12处理两年平均番茄生物量、吸氮量和产量分别显著增加16.9%、15.2% 和22.6%。这可能是由于在高频施肥下,水分和养分更多在表层土壤分布,利于番茄生长和根系吸收。当滴灌施肥频率过低时,表层土壤长时间处于水肥亏缺状态,使得番茄植株养分吸收不足,从而造成植株生物量和吸氮量降低[26]。高频处理“少量多次”的灌溉施肥特点,使得可利用土壤水分养分与番茄生长需求规律吻合较好,减少了深层渗漏的发生[27];而低频处理“多量少次”的灌溉施肥特点,加大了水肥条件与作物需求的差异,增加了土壤水肥淋失的风险,进而影响最终产量[28]。F3与F6处理番茄产量无显著差异,这与前人在传统滴灌上的研究结果相似[29-30],表明过高的滴灌施肥频率并不能取得更好的增产效果。
分根区交替滴灌施肥相比于常规滴灌具有较大的节水稳产效果。在灌水量减少40% 条件下,与CK处理相比,F6处理两年平均番茄生物量、吸氮量和产量均不存在显著差异,这可能是由于APRI显著提高了根系活力和根系导水能力,利于植物从土壤中吸收水分和养分,即使灌水量大幅减少,也能保证作物生长和产量的形成[31]。有研究表明,APRI改善了营养物质和光合产物向生殖器官转移,从而增加了果实数量和产量[32]。此外,APRI引起的土壤干湿循环刺激了微生物活动,利于土壤中有机质矿化和无机氮累积,从而增加了植株氮素吸收[16]。因此,本试验推荐温室番茄ADF下适宜的滴灌施肥频率为6 d一次。
4 结论ADF条件下高频滴灌溉施肥处理(F3)相比于低频处理(F12)番茄主要根层(0 ~ 40 cm)土壤含水量、无机氮含量均显著增加,明显减少了水肥向深层土壤运移,利于根系吸收水分养分,从而使番茄生物量、吸氮量和产量均显著增加,但F3与中频处理(F6)番茄氮素吸收、产量均无显著差异。在灌水量减少40% 条件下,F6处理能够保持与CK番茄产量相当,表明ADF具有较大的节水稳产效果。在综合考虑产量与节水条件下,ADF下6 d一次的施肥频率可作为温室番茄生产中较适宜的水肥调控措施。
| [1] |
王浩翔, 张新燕, 牛文全, 等. 不同滴灌施肥模式对油菜生长和水肥利用的影响[J]. 干旱地区农业研究, 2020, 38(2): 30-36 ( 0) |
| [2] |
宋修超, 仇美华, 郭德杰, 等. 水肥处理对基质栽培西瓜生长、水分利用效率及光合特性的影响[J]. 土壤, 2019, 51(2): 284-289 DOI:10.13758/j.cnki.tr.2019.02.011 ( 0) |
| [3] |
Ahmadi S H, Agharezaee M, Kamgar-Haghighi A A, et al. Effects of dynamic and static deficit and partial root zone drying irrigation strategies on yield, tuber sizes distribution, and water productivity of two field grown potato cultivars[J]. Agricultural Water Management, 2014, 134: 126-136 DOI:10.1016/j.agwat.2013.11.015 ( 0) |
| [4] |
Wei Z H, Du T S, Zhang J, et al. Carbon isotope discrimination shows a higher water use efficiency under alternate partial root-zone irrigation of field-grown tomato[J]. Agricultural Water Management, 2016, 165: 33-43 DOI:10.1016/j.agwat.2015.11.009 ( 0) |
| [5] |
Du S Q, Tong L, Zhang X T, et al. Signal intensity based on maximum daily stem shrinkage can reflect the water status of apple trees under alternate partial root-zone irrigation[J]. Agricultural Water Management, 2017, 190: 21-30 DOI:10.1016/j.agwat.2017.05.004 ( 0) |
| [6] |
王晓艳, 高艳明, 李建设, 等. 分根区交替滴灌对樱桃番茄品质、产量及水分利用效率的影响[J]. 西南农业学报, 2021, 34(11): 2457-2464 DOI:10.16213/j.cnki.scjas.2021.11.021 ( 0) |
| [7] |
王远, 许纪元, 潘云枫, 等. 长江下游地区水肥一体化对设施番茄氮肥利用率及氨挥发的影响[J]. 土壤学报, 2022, 59(3): 776-785 ( 0) |
| [8] |
张江辉, 刘洪波, 白云岗, 等. 极端干旱区滴灌葡萄水肥耦合效应研究[J]. 土壤学报, 2018, 55(4): 804-814 ( 0) |
| [9] |
邢英英, 张富仓, 张燕, 等. 膜下滴灌水肥耦合促进番茄养分吸收及生长[J]. 农业工程学报, 2014, 30(21): 70-80 DOI:10.3969/j.issn.1002-6819.2014.21.010 ( 0) |
| [10] |
郑国保, 张源沛, 孔德杰, 等. 滴灌水肥管理对日光温室黄瓜产量和品质的影响[J]. 节水灌溉, 2015(4): 19-22 ( 0) |
| [11] |
栗岩峰, 李久生, 饶敏杰. 滴灌系统运行方式施肥频率对番茄产量与根系分布的影响[J]. 中国农业科学, 2006, 39(7): 1419-1427 DOI:10.3321/j.issn:0578-1752.2006.07.017 ( 0) |
| [12] |
刘中良, 高璐阳, 高俊杰, 等. 等肥量下不同分施次数对番茄产量及品质的影响[J]. 中国农学通报, 2021, 37(5): 26-30 ( 0) |
| [13] |
Liang H L, Li F S, Nong M L. Effects of alternate partial root-zone irrigation on yield and water use of sticky maize with fertigation[J]. Agricultural Water Management, 2013, 116: 242-247 DOI:10.1016/j.agwat.2012.08.003 ( 0) |
| [14] |
陈思, 周振江, 牛晓丽, 等. 根系分区交替灌溉条件下番茄果实硝酸盐含量的水肥耦合效应研究[J]. 中国土壤与肥料, 2013(6): 37-41 ( 0) |
| [15] |
张彦, 刘小刚, 张富仓, 等. 交替灌溉条件下水氮供给对番茄生长及水分利用的影响[J]. 干旱地区农业研究, 2013, 31(1): 71-75 ( 0) |
| [16] |
胡笑涛, 康绍忠, 张建华, 等. 番茄垂向分根区交替控制滴灌室内试验及节水机理[J]. 农业工程学报, 2005, 21(7): 1-5 ( 0) |
| [17] |
刘永贤, 梁海玲, 农梦玲, 等. 不同施肥及滴灌方式对糯玉米生长及产量的影响[J]. 南方农业学报, 2012, 43(7): 981-985 ( 0) |
| [18] |
陈慧, 侯会静, 蔡焕杰, 等. 加气灌溉对番茄地土壤CO2排放的调控效应[J]. 中国农业科学, 2016, 49(17): 3380-3390 ( 0) |
| [19] |
王春辉, 祝鹏飞, 束良佐, 等. 分根区交替灌溉和氮形态影响土壤硝态氮的迁移利用[J]. 农业工程学报, 2014, 30(11): 92-101 ( 0) |
| [20] |
郭鹏飞, 张筱茜, 韩文, 等. 滴灌频率和施氮量对温室西葫芦土壤水分、硝态氮分布及产量的影响[J]. 水土保持学报, 2018, 32(4): 109–114, 121 ( 0) |
| [21] |
Liu R, Yang Y, Wang Y S, et al. Alternate partial root-zone drip irrigation with nitrogen fertigation promoted tomato growth, water and fertilizer-nitrogen use efficiency[J]. Agricultural Water Management, 2020, 233: 106049 ( 0) |
| [22] |
Silber A, Xu G, Levkovitch I, et al. High fertigation frequency: The effects on uptake of nutrients, water and plant growth[J]. Plant and Soil, 2003, 253(2): 467-477 ( 0) |
| [23] |
杜飞乐, 任天宝, 林二阁, 等. 滴灌减氮对植烟土壤无机氮变化及烟株氮积累的影响[J]. 土壤, 2018, 50(2): 298-304 ( 0) |
| [24] |
Shan L N, He Y F, Chen J, et al. Nitrogen surface runoff losses from a Chinese cabbage field under different nitrogen treatments in the Taihu Lake Basin, China[J]. Agricultural Water Management, 2015, 159: 255-263 ( 0) |
| [25] |
雷杨莉, 王林权, 薛亮, 等. 交替灌溉施肥对夏玉米土壤氨挥发的影响[J]. 农业工程学报, 2009, 25(4): 41-46 ( 0) |
| [26] |
陈志, 刘晓光, 李贺, 等. 滴灌水肥一体化施肥频率对日光温室番茄生长指标及产量的影响[J]. 安徽农业科学, 2022, 50(9): 185-187 ( 0) |
| [27] |
张志云, 赵伟霞, 李久生. 灌水频率和施氮量对番茄生长及水氮淋失的影响[J]. 中国水利水电科学研究院学报, 2015, 13(2): 81-90 ( 0) |
| [28] |
蒋桂英, 刘建国, 魏建军, 等. 灌溉频率对滴灌小麦土壤水分分布及水分利用效率的影响[J]. 干旱地区农业研究, 2013, 31(4): 38-42 ( 0) |
| [29] |
Singh B, Naresh R, Kumar A, et al. Effect of fertigation frequency from surface drip irrigation on tomato yield grown on sandy soil in western Uttar Pradesh[J]. Progressive Agriculture, 2011, 11(conf): 110-116 ( 0) |
| [30] |
Kumar M, Rajput T B S, Kumar R, et al. Water and nitrate dynamics in baby corn (Zea mays L.) under different fertigation frequencies and operating pressures in semi-arid region of India[J]. Agricultural Water Management, 2016, 163: 263-274 ( 0) |
| [31] |
Liu X G, Li F S, Zhang F C, et al. Influences of alternate partial root-zone irrigation and urea rate on water- and nitrogen-use efficiencies in tomato[J]. International Journal of Agricultural and Biological Engineering, 2017, 10(6): 94-102 ( 0) |
| [32] |
Liu H, Duan A W, Li F S, et al. Drip irrigation scheduling for tomato grown in solar greenhouse based on pan evaporation in North China plain[J]. Journal of Integrative Agriculture, 2013, 12(3): 520-531 ( 0) |
2. Shanxi Energy University, Jinzhong, Shanxi 030604, China
2023, Vol. 55



0)